La désignation des bornes de connexion des composants d’un circuit électrique d’un véhicule est normalisée. Ainsi tous les constructeurs respectent la norme DIN 72552.
Apprendre cette norme permet de lire rapidement les entrées sorties des composants (capteurs, actuateurs,…) et de comprendre leurs interactions.
C’est également indispensable pour contrôler l’état de fonctionnement d’un composant. En simulant une tension aux différents entrées du composant, il est possible de mesurer la tension de sortie et donc de vérifier qu’elle est conforme.
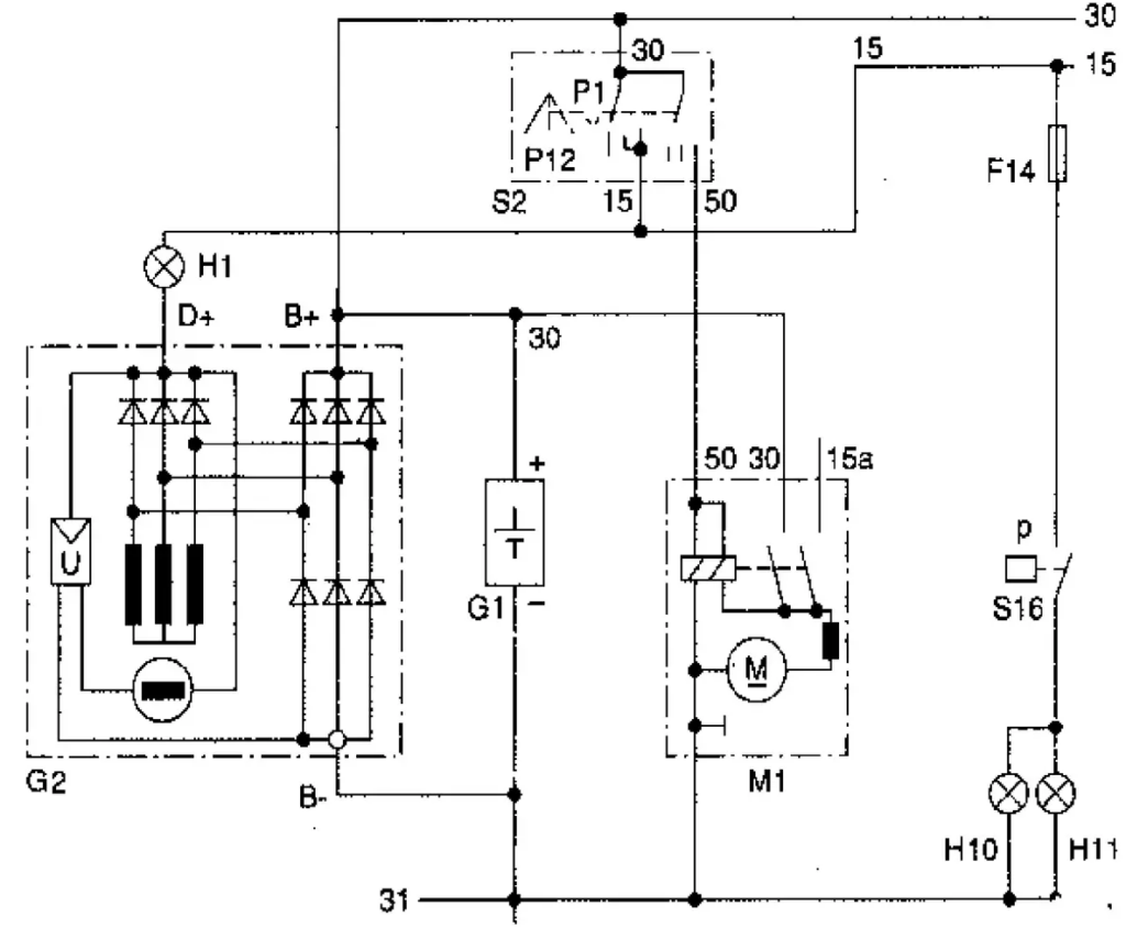
Voici un exemple de schéma de câblage:

Sur le schéma précédent, on peut aussi lire comment sont alimentées les différentes branches du circuit (30 et 15). Ces alimentations correspondent à une position de la clé de contact telles qu’indiquées ci-dessous:

30 ,+ BAT,+ PERMANENT
Il s’agit d’une alimentation constamment connectée à la batterie.
Ex : alimentation de l’horloge.
Couleur norme DIN : rouge.
Attention ! Lors d’une recherche d’un plus permanent
il faut retirer la clé.

75 ,+ Acc,+ ACCESSOIRE
C’est une alimentation nécessitant une action sur le contacteur à clef (il s’agit en général de la première position). Elle est utilisée pour alimenter les fonctions « non vitales » du véhicule.
Ex : alimentation de l’autoradio.
Attention! Cette source d’alimentation disparait lorsque le contacteur à clef est en position démarrage.

15,+ APC, + APRÈS CONTACT
C’est une alimentation qui apparait en actionnant le contacteur à clef, elle reste présente en phase démarrage. Ce type d’alimentation est utilisée pour les organes indispensables au fonctionnent du véhicule.
Ex : alimentation du calculateur d’injection.
Couleur norme DIN : noir.

50,+ Dem, + DÉMARREUR
Cette information alimente principalement le démarreur.
Les abréviations employées dans les schémas sont les suivantes:
| + BAT | + Batterie | DIN | Norme industrielle allemande |
| + AVC | + Avant contact | ISO | Standard international |
| + APC | + Après contact | PIN | Broche connecteur |
| + ACC | + Accessoire | REMOTE | Télécommande |
| AVD / FR | Avant droit | TOS / ROS | Taux d’onde stationnaire |
| AVG / FL | Avant gauche | BSI | Boîtier de servitude intelligent (PSA) |
| ARD / RR | Arrière droit | UCH | Unité de contrôle habitacle (Renault) |
| ARG / RL | Arrière gauche | UCM | Unité de contrôle moteur |
| HP | Haut Parleur | IN | Entrée |
| CAN H / CAN L | Ligne multiplexée | OUT | Sortie |
| DATA / DATA | Ligne multiplexée | LEVEL | Niveau |
| LIGNE K / LIGNE L | Ligne diagnostic | HIGH | Haut |
| + VAN | Alimentation multiplexage | LOW | Bas |
La norme regroupe les bornes par grandes fonctions.

La liste exhaustive des codes des bornes prévue par la norme DN 72552 est la suivante:

